Ford is looking to patent a magnetic truck bed, according to a patent application first spotted by Muscle Cars & Trucks.
Filed with the United States Patent and Trademark Office (USPTO) in January, the application describes embedding magnets in pickup beds to help secure loads. Between four and six magnets could be used, according to drawings included with the patent application.
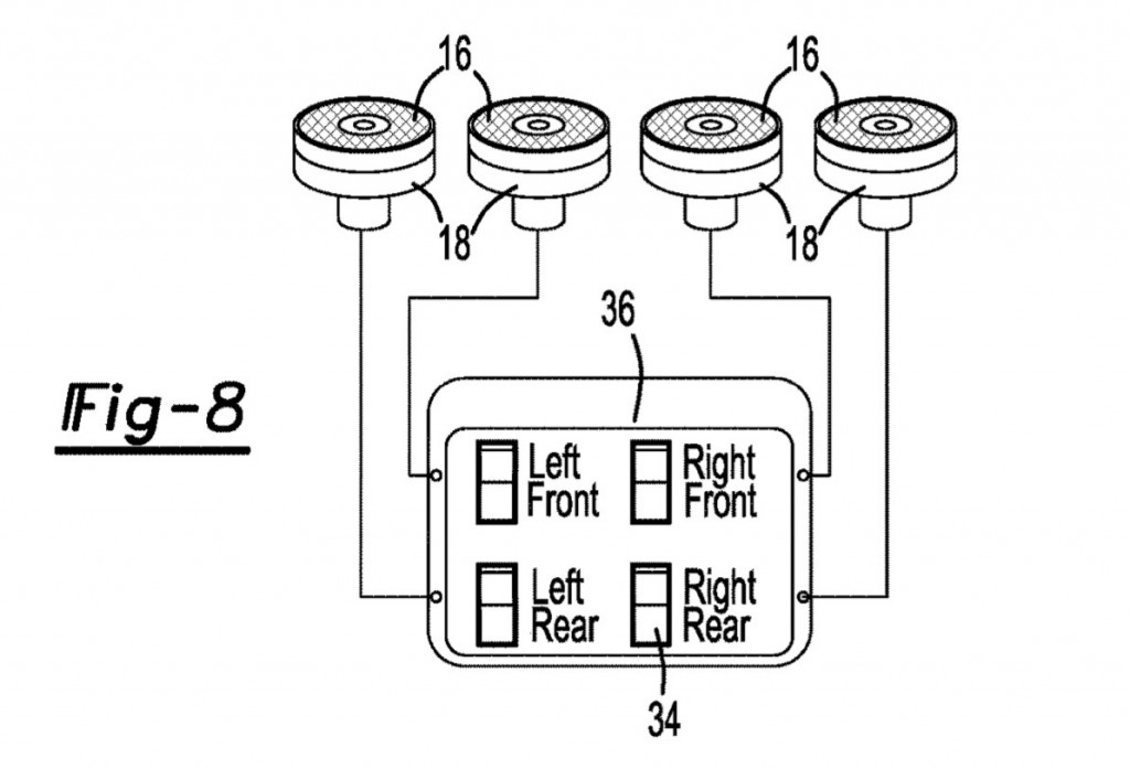
These magnets could be moved around to magnetize the entire bed floor, or just sections of it. That could be accomplished with a manually-operated handle or automated with servos, according to the application. Ford also suggested that magnets could be switched on and off individually.
Ford magnetic pickup truck bed patent image
The automaker is also looking to patent what it calls a magnetic tie-down system, which could be used in pickups, as well as SUVs and vans. This would place magnets in more locations beyond the floor, potentially allowing items to hang from a magnetized roof, for example.
The magnets could be activated from a vehicle’s central touchscreen or through a smartphone app, according to patent documents. However, as Muscle Cars & Trucks points out, Ford would have to insulate wiring to shield vehicle electronics from interference from any internally mounted magnets.
As with all automotive patents, it’s unclear if magnetic cargo storage will ever reach production. We do know that Ford has been busy with truck-related patents lately. It recently filed patent applications for a trisected tailgate, and different ways to utilize the electric F-150 Lightning’s massive frunk, including an integrated fold-put table and a stereo system.
