An upcoming hybrid version of the C8 Chevrolet Corvette (likely to be called E-Ray) could use a transmission from Tremec, according to patent documents first spotted by The Drive.
Tremec, which manufactures the C8 Corvette Stingray’s 8-speed dual-clutch transmission, filed a patent application with the United States Patent and Trademark Office (USPTO) for a new 8-speed dual-clutch gearbox with an integrated electric motor-generator.
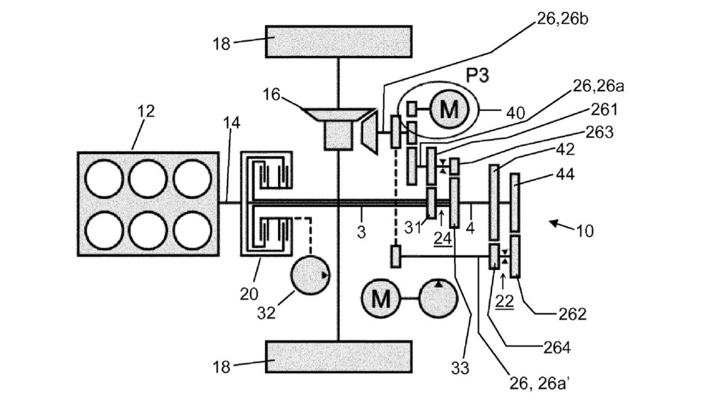
According to the application, the motor-generator can connect to the transmission’s output shaft or one of its two input shafts. Dual-clutch transmissions have two input shafts, each with half of the available forward gears.
This configuration implies that the transmission will enable an all-electric mode. But clutching to one of the two input shafts, the motor-generator will be able to drive the wheels using four of the eight gears, and match speeds between the gear ratios, according to the patent application. Because electric motors make all of their torque regardless of speed, the motor-generator could be spun at varying speeds to bridge the gap between ratios.
Tremec patent image for hybrid dual-clutch transmission
Connecting to the output shaft will allow the motor-generator to provide a power boost to the gasoline engine, or provide “torque fill” between gear shifts, as with other hybrid sports cars. A small onboard battery pack will be charged by regenerative braking or by connecting the motor-generator to the gasoline engine, according to the application.
We’ve already seen what appear to be Corvette hybrid prototypes out testing, with an Acura NSX on hand for benchmarking. The presence of the the hybrid NSX, as opposed to the Audi R8, Ferrari 458 Italia, And Porsche 911 Carrera S used during development of the Stingray, points to a hybrid Corvette.
The Corvette hybrid could be called E-Ray, trademarks for which were discovered as far back as 2015. Chevy is also rumored to be planning a future Corvette flagship called Zora, with a more powerful hybrid system.
The Corvette could also go all-electric, eventually. General Motors has said it “aspires” to eliminate tailpipes from its light-duty vehicles by 2035, which implies an electric Corvette. The Corvette E-Ray could be a first step in that direction.
