Ford currently offers blind-spot monitoring for trailers, but the automaker also recently filed a patent application for tech that could increase the margin of safety while towing.
Filed with the United States Patent and Trademark Office (USPTO), the application describes trailer sideswipe avoidance technology that would use sensors to determine if a trailer is in danger of colliding with obstacles and trigger safety systems to respond.
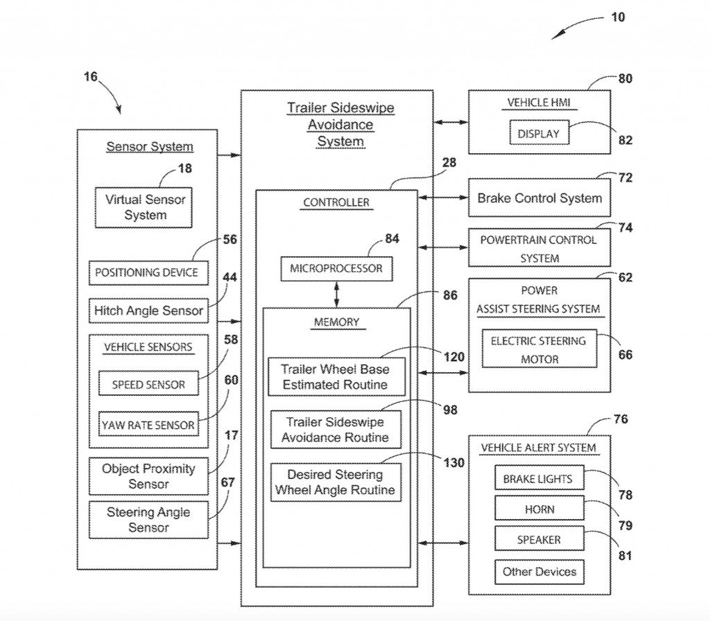
Sensors would measure things like speed, yaw rate, steering angle, and proximity to nearby objects. This information would be fed to the sideswipe avoidance system, which would also be aware of the trailer’s wheelbase, according to the application.
Ford trailer sideswipe avoidance system patent image
If a sideswipe is deemed to be imminent, an onboard controller can use the throttle, steering, or brakes to take evasive action, the application said. That could include reducing steering angle, for example.
While it could make towing safer, it’s unclear if Ford actually plans to put this system into production. A patent application is not a product plan, after all. Still, with its reliance on sensors and other tech already built into new vehicles as part of various driver-assist systems, the sideswipe avoidance system does at least seem like it could be integrated into a pickup truck or SUV without too much trouble.
Ford has filed a number of truck-related patent applications recently, including a trisected tailgate design, tailgating features for the electric F-150 Lightning’s frunk, and integrated sand ladders for desert off-roading. Perhaps one of these ideas will make into a production vehicle eventually.
