Recent McLaren patent filings hint at a triple-motor powertrain for future supercars.
One patent application, published in January 2023 and first spotted by The Drive, describes a rear-axle drive unit consisting of a differential with three electric motors. A primary motor is positioned at the differential’s input, and two more are at the outputs, where the axle shafts exit and connect the diff to the rear wheels. The housing for this mass of motors and gears would be made of aluminum or magnesium to save weight according to the application.
McLaren triple-motor powertrain patent image (from application published Jan. 2023)
In the application, McLaren claims the three-motor system would allow for finer control of power delivery and regenerative braking by manipulating individual motors. It could also work with hydrogen fuel cells or supercapacitors as well as batteries, according to the application. The same drive unit could be used on the front axle for all-wheel drive, or even in three-wheeled vehicles, McLaren claims.
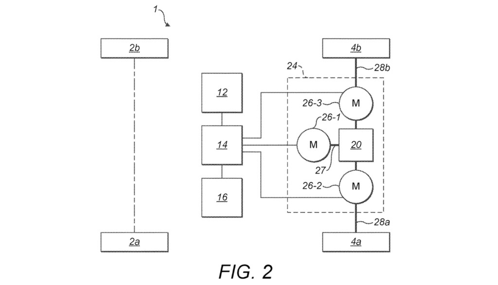
This isn’t the first patent application McLaren has filed for this concept, though. Another application, published in November of 2022, details a more complex system that retains an internal-combustion engine. It encompasses one electric motor powering each front wheel, with a third electric motor driving the rear wheels along with the combustion engine.
McLaren triple-motor powertrain patent image (from application published Nov. 2022)
This seems like a way to build on the current McLaren Artura plug-in hybrid, which uses a single electric motor to help a twin-turbocharged 2.9-liter V-6 drive its rear wheels, and is also capable of 19 miles of electric range. Adding front motors would enable all-wheel drive, and the patent application discusses disengaging the rear motor and combustion engine, meaning they would handle all-electric operation as well.
McLaren Applied Technologies, a separate division from the McLaren Automotive unit that develops road cars, also recently announced a partnership with in-wheel motor firm Elaphe to incorporate the latter’s tech into powertrains for “highly efficient and hyper-responsive electric vehicles.” So while all of these concepts might not make it to production, McLaren is clearly interested in experimenting with greater degrees of electrification.
