A recent patent filing indicates Rivian is looking to alternative cooling methods as a way to speed up EV fast charging.
A patent application published Feb. 14 by the United States Patent and Trademark Office (USPTO) notes that thermal management during charging can take up quite a lot of power. As a solution, it proposes shifting some of the load from the vehicle’s cooling system to the charging system.
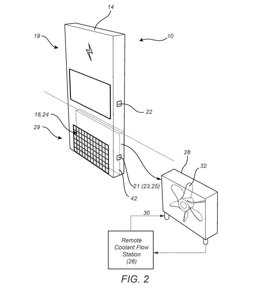
Battery packs need to be within a certain temperature window to achieve peak charging speed, and according to Rivian, that cooling takes real power, which detracts from peak charge rate. That cooling demand increases from a few kilowatts with AC charging to 15 kw or more with DC fast charging, the company claims in the patent application.
Rivian EV charger cooling system patent image
Cooling needs for charging also necessitate a larger air conditioning system that may use more power the rest of the time when driving, too, Rivian noted.
The company has boasted that its cooling method, which relies on a cooling plate running horizontally through the pack, is a more efficient way to moderate the pack’s temperature, though. And the cabin cooling system in some EVs now does help speed up fast-charging, so this isn’t a left-field idea.
The document lays out a long list of possibilities for alternative cooling arrangements—including fanning cool air under vehicles—perhaps hinting that, while Rivian hasn’t arrived at any one method for doing this, the company wants to claim the idea. That’s often the motivation for automotive patents, whether the automaker filing them has firm production plans for a given feature or not.
Rivian EV charger cooling system patent image
In any case, it seems that this would take a great amount of energy at the charging station level to make any difference for the vehicle, so it’s unclear how feasible it would be. Other companies have looked at ways to improve charging performance through more efficient cooling, however.
Ford and Purdue University has helped develop a charging cable that would rely on the phase change of coolant from liquid to vapor, offsetting the need for bulkier cables. That’s something charging hardware supplier Huber+Suhner has predicted might be needed to support very fast electric-car charging.
