The superior sensing capabilty of lidar over camera and radar enables the technology to improve driver-assist systems, and are generally viewed as crucial for self-driving cars. Now it appears General Motors is developing its own lidar system.
A GM patent application titled “Lidar Vision Systems” was published by the United States Patent and Trademark Office (USPTO) on Feb. 28, although it was originally filed Dec. 12, 2019. In the document, GM claims improvements in range over current lidar sensors.
Lidar relies on light waves that are projected from a sensor and bounced off nearby objects. The pattern in which light is either scattered or returned back to the sensor allows the system to determine the shape of the object and its distance. In the auto industry, lidar is generally teamed with radar and cameras to help autonomous cars and driver-assist systems “see” the environment.
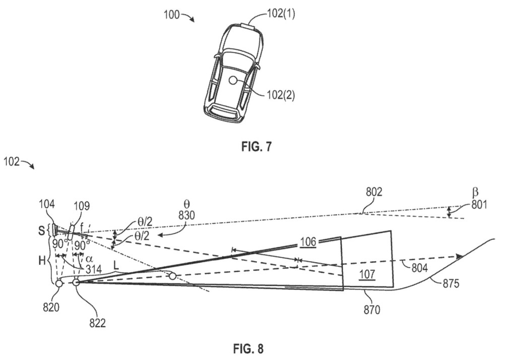
GM notes in the document that lidar units may have trouble detecting objects outside of a certain range from the vehicle. The document describes compensating for this with lens assemblies around the sensor, with individual lenses angled to capture more light.
General Motors lidar patent image
While Tesla CEO Elon Musk has claimed lidar is a waste of money, other automakers have already begun adding it to production vehicles. The Chinese-market Xpeng P5 electric sedan was claimed by its maker to be the first car on sale with built-in lidar when it was unveiled in 2021. The P5 uses two lidar sensors, one positioned on either side of the front fascia, for detecting obstacles as part of its driver-assist tech suite.
Mercedes-Benz and Volvo have invested in Silicon Valley firm Luminar, and plan to use the company’s lidar sensors in future vehicles. Volvo is integrating lidar sensors into vehicle roofs, starting with the 2024 EX90 electric SUV, which is due to start deliveries early next year. GM has also confirmed lidar will feature in its vehicles starting with the 2024 Cadillac Celestiq, though initially the lidar will be sourced from supplier Cepton.
