To many purists, Mazda will forever be linked to the rotary engine that the company first launched in the 1967 Cosmo Sport and later in a series of RX-badged sports cars.
Throughout the years, rotary engines have played a significant part in the company’s history, including powering a Le Mans winner, and earlier this year the engine made a comeback, as a range extender for the MX30 compact electric crossover, though not in the U.S.
But might we see a more powerful rotary in a modern RX? The biggest hurdle remains getting the fuel-thirsty engine to comply with the strict emissions regulations while also boosting output. Mazda’s last rotary sports car, the RX-8, had only 232 hp but a V-8-like thirst.
Patent activity suggests Mazda is looking at hybrid technology as a possible solution for a car with a rotary directly powering the wheels.
Mazda patent describing a rotary hybrid powertrain
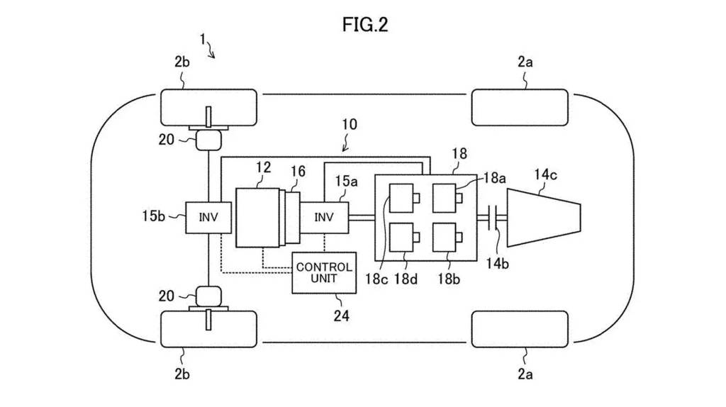
As first spotted by The Drive, a patent filed by Mazda with the United States Patent and Trademark Office was published this week and details a hybrid system in which a front-mounted rotary engine (12) is paired with an electric motor (16), with the two power units sending drive to a transaxle (14c) and ultimately the rear wheels (2a). Two more electric motors (20), described as in-wheel hub motors, complete the powertrain, and give it all-wheel-drive.
A similar patent surfaced last year but the latest provides a lot more detail about the electric side of the powertrain. The two in-wheel motors are described as 17-kw (23-hp) induction motors, while the motor paired with the rotary is described as a permanent magnet synchronous motor with 25 kw (36 hp).
The latest patent also has an interesting concept for the battery system (18) to store recovered energy and power the electric motors. It’s a unique variable-voltage system where four individual 48-volt battery systems are packaged for ideal weight distribution. The systems act individually during normal driving, but when peak power is required switches can connect the batteries to form 96-volt units. Such a design means fewer high-voltage connections are required, helping to reduce weight.
Mazda hasn’t made any mention of plans to launch a modern rotary sports car, though there have been plenty of hints over the years, culminating with the reveal of the RX-Vision concept in 2015. All of the patent activity suggests that Mazda hasn’t given up on the idea of a rotary sports car, even in a world of ever tightening emissions standards.
