The gullwing door originated with the Mercedes-Benz 300SL but has been copied multiple times. This time it’s Ford that is contemplating gullwing doors for future vehicles.
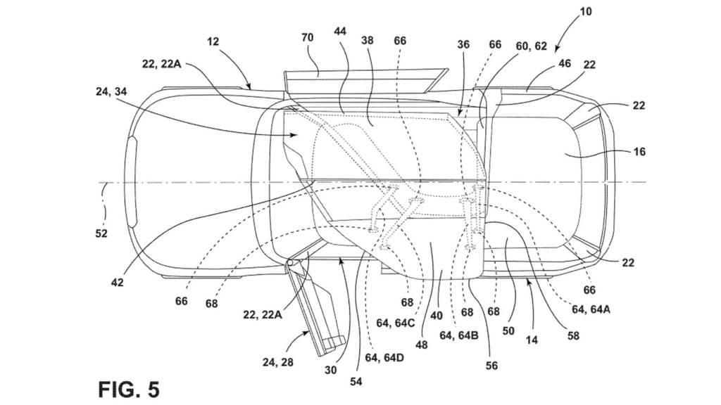
First spotted by Motor1, a Ford patent application title “side door for a vehicle” was published by the United States Patent and Trademark Office (USPTO) Apr. 20, 2023 after being filed in October 2021. It describes a new kind of gullwing door design, with an SUV used to illustrate it.
Ford gullwing door patent image
The Tesla Model X features the automaker’s own version of gullwing doors, which it calls falcon doors, but Ford’s concept is a bit different. Where the Model X has conventional front doors and rear falcon doors, the patent application shows one massive gullwing door for the passenger’s side of the vehicle, with a conventional door for the driver.
This asymmetric arrangement appears to be a consequence of the door’s shape. The Model X has multiple hinged sections that allow its doors to open more or less straight up. Ford’s version only hinges along the roof centerline, creating a clamshell shape that incorporates part of the roof into the door.
Ford gullwing door patent image
One potential benefit of a gullwing door design for SUVs is a bigger opening, making it easier for passengers to get in and out. The drawings also appear to show the movable in-vehicle table from another recent Ford patent filing, a combination that could make for a very good tailgating setup.
As with all patent applications, though, there is no guarantee that this gullwing door design will reach production. If nothing else, the hardware for such a door would probably be quite complex, which could cause reliability issues. That’s something Tesla found out the hard way with its setup (which might explain why they’ve been limited to the Model X), as did DeLorean and Bricklin with their gullwing sports cars before it.
