Toyota has filed a new patent application for in-wheel electric motors, indicating the automaker is still working on this tech.
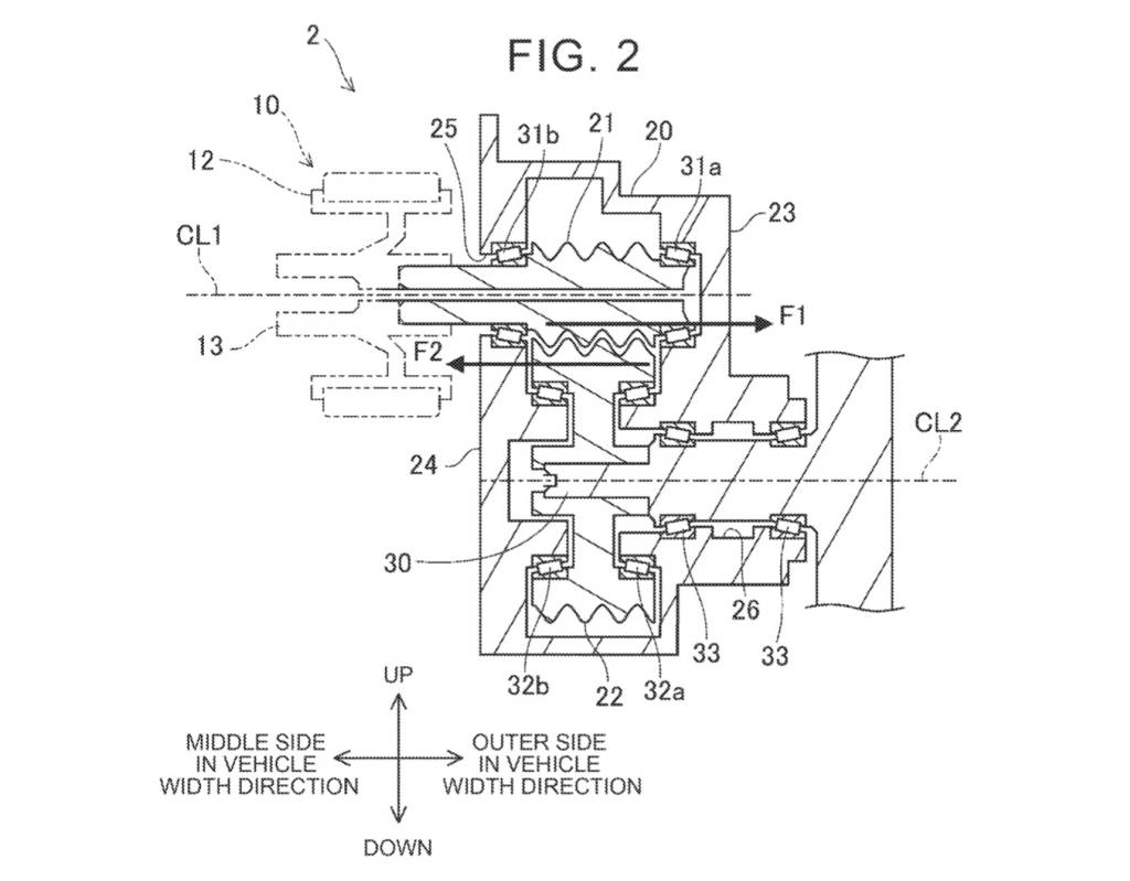
The patent application was published by the United States Patent and Trademark Office (USPTO) Jul. 18, 2024, and originally filed by Toyota Oct. 30, 2023. It deals specifically with a gear-case design that uses two helical gears and thrust bearings, which Toyota claims in the application allows the gear case to withstand thrust loads on the gears with minimal weight increase.
Toyota in-wheel motor patent image
While minimizing weight is an overall virtue in automotive engineering, keeping the weight of the gear case to a minimum can help reduce unsprung mass—one of the main drawbacks of in-wheel motors. Too much unsprung mass—meaning mass not supported by the suspension, such as motors attached the wheel hubs—can make tuning for ride and handling difficult.
Patent applications are not the same as product plans but, as Just-Auto has pointed out, Toyota has filed a lot of patents on in-wheel motors in recent years, so it’s clearly still at work on them. Toyota has had an in-house in-wheel motor program in the past (as did General Motors), and this might suggest that it either remains active or has been revived.
Toyota Baby Lunar Cruiser concept
Toyota highlighted in-wheel motors as an efficiency and packaging choice 15 years ago or more and had signaled that its iQ EV might have them in an internally developed form. It arrived with a standard inboard motor setup though. More recently, Toyota has teased in-wheel motors on its Lunar Cruiser concept.
The tech is finding its way into passenger vehicles, gradually, and Aptera is including them as part of what it claims will be a super-efficient electric 3-wheeler, but a lot of questions about durability and safety remain. Hyundai has also teased another approach that moves an in-wheel motor design close to the wheels but not in them—but with no clear production plans.
