A new Ford patent filing has surfaced that hints at a driver-assist system designed to prevent collisions with trains.
First spotted by Motor1, the patent application was filed with the United States Patent and Trademark Office (USPTO) in 2021, but was only published on March 30, 2023. As Motor1 notes, the document shows two possibles implementations of this idea, each using sensors to detect oncoming trains as a car approaches a railroad crossing.
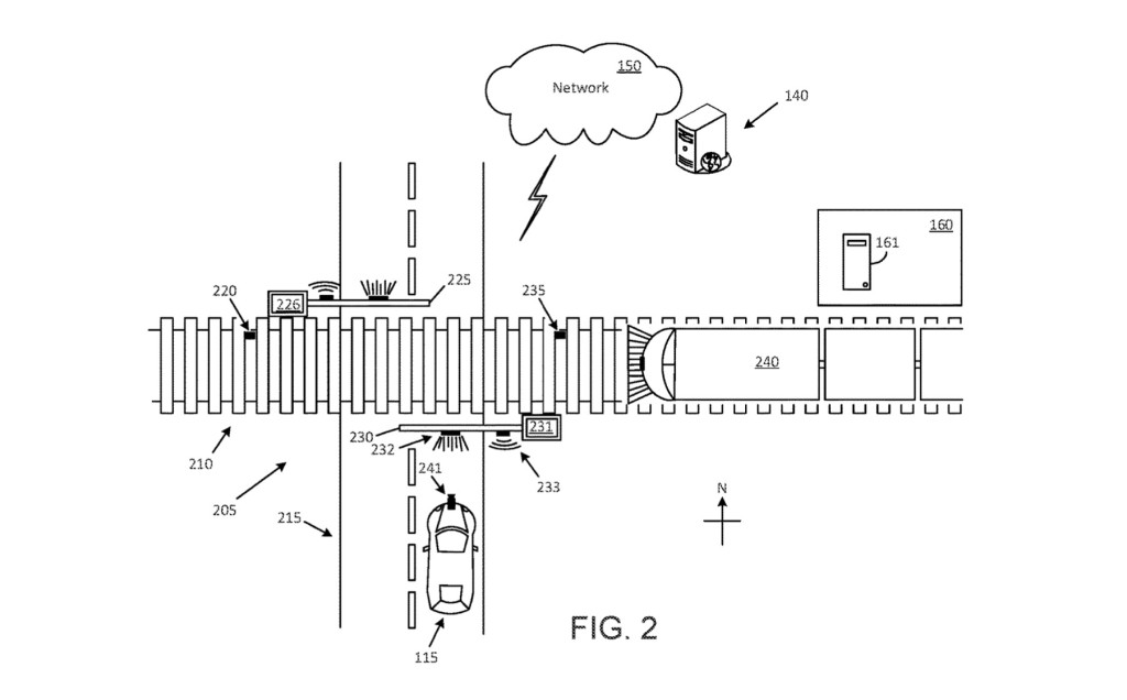
Ford train-detection system patent image
In one version, sensors would be placed on the railroad tracks on both sides of a crossing, and communicate with sensors in the vehicle. If the system detects a train, it warns the driver not to cross. Placing sensors on both sides of a crossing allows the system to confirm that a train is really out of the way before giving the all-clear, and that it isn’t, for example, reversing back over the crossing.
The second version pares things back a bit. Instead of placing sensors on the tracks, it would rely on in-car hardware, such as cameras and lidar, to watch the crossbars and warning lights at railroad crossings—the cues human drivers sometimes ignore when approaching railroad crossings.
Ford train-detection system patent image
Ford also mentions sending information to other vehicles, so that drivers know a train is occupying the crossing before they reach it. This feature, which sounds like the vehicle-to-vehicle (V2V) communication the automaker in 2018 said could help eliminate traffic lights, could be helpful to emergency vehicles, allowing them to reroute around trains, Ford detailed in the patent.
This system would also help increase vehicle automation, according to Ford, allowing cars to automatically stop at railroad crossings without drivers having to take over. The automaker has filed several patents that could be applied to autonomous vehicles, but the core technology itself is still under development. So it might be awhile before we see anything like Ford’s train-detecting system in a production vehicle.
