Ford is looking at ways to make electric vehicle battery packs easier to repair—especially as their cooling systems become more advanced—a patent filing indicates.
The document, which was published by the United States Patent and Trademark Office (USPTO) Dec. 12, 2024, after being submitted by Ford Jun. 12, 2023, details how battery modules could be replaced without removing the entire pack from the vehicle. This could reduce repair costs and could be greener, potentially allowing some packs to be rehabbed with new modules rather than replaced.
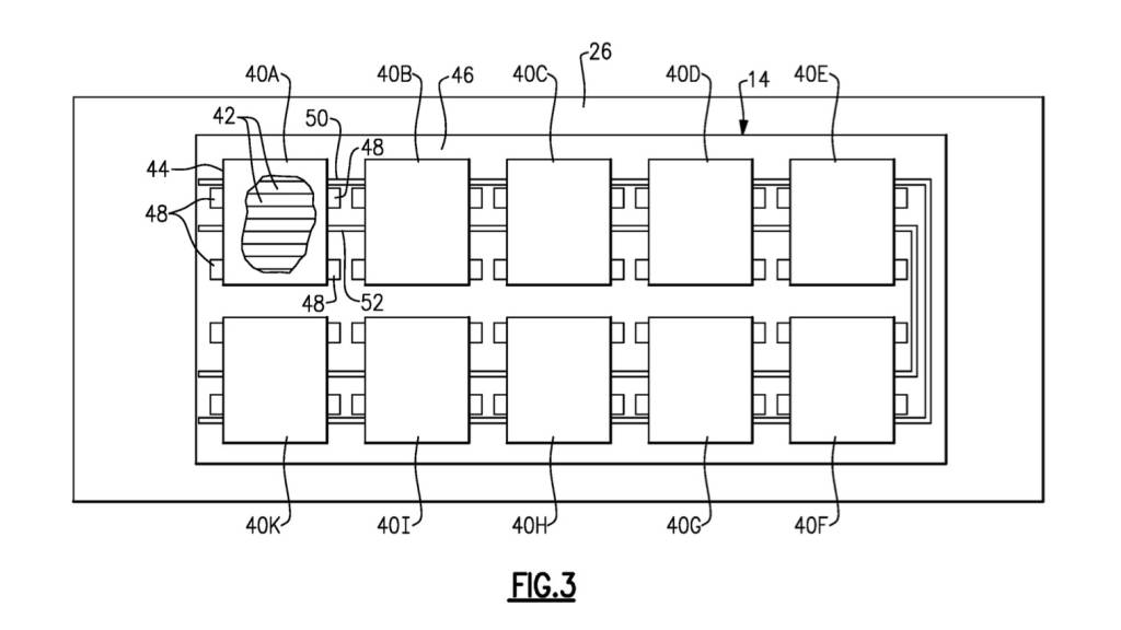
Patent image of Ford battery pack designed for easier module replacement
Ford discusses retaining the common layout of a battery pack mounted under the floor, with multiple modules that in turn contain multiple battery cells. Electrical terminals with removable caps and spring-loaded connectors would allow modules to be removed as needed.
The patent filing also mentions immersion cooling, in which battery components are directly cooled by a non-conductive fluid that won’t cause electrical shorts. Immersion cooling is a relatively new idea in EV development, as most modern EVs even with liquid cooling use the coolant outside modules and/or with a cooling plate. But this necessitates additional hardware that makes accessing battery modules more complicated.
Patent image of Ford battery pack designed for easier module replacement
Other automakers, such as Mercedes-Benz, have considered going the other way completely, toward air-cooling. The physical configuration of cells and modules is also being considered, with General Motors looking at different cell arrangements to maximize cooling and Canoo designing a structural battery pack with modules interconnected with the vehicle frame and cooling system.
It’s new territory. Rimac is one of the only companies that has detailed a true immersion cooling system that thermally conditions each cell at multiple points (the Cybertruck might qualify for this description too, but Tesla has not yet detailed the system). Bringing such tech to the mass market may help Ford get a jump on others—even Tesla.
